|
HC41X消声止回阀原理作用: HC41X消声止回阀的启闭件靠介质流动和力量自行开启或关闭,以防止介质倒流。止回阀一般分为升降式、旋启式、蝶式及卧式等四种类型,通式升降式止回阀应安装于水平管路上,立式升降式止回阀和底阀一般安装在垂直管路上,并且介质自下而上流动,旋启式止回阀安装位置不受限制,通常安装于水平管路,但也可以安装于垂直管路或倾料管路上。安装HC41X消声止回阀注意事项:止回阀只允许介质向一个方向流动,应特别注意介质流动方向,应使介质正常流动方向与阀体上指示的箭头方向相一致,否则就会截断介质的正常流动。 HC41X节能消声止回阀适用于给排水管道,HC41X消声止回阀阀瓣采用进口两端中心轴导向,启闭灵活,可水平安装或垂直安装。HC41X节能消声止回阀阀瓣采用弹簧加载,其快速关闭能有效的消除水锤,密封性能好,关闭无噪声。HC41X节能消声止回阀具有体积小、重量轻、流体阻力小,耐疲劳、寿命长等优点。 HC41X消声止回阀性能特点: ①阀体内腔采用流线型设计,流量按100%设计,减少急弯、拐角、尖凸,从而减少流体的阻力; ②阀瓣前后设计为锥形,使流体阻力大大减少,又减少了因紊流所产生的噪声; ③阀瓣关闭的行程短,只有公称通径的1/4,减少了阀瓣的关闭时间,减少了水锤的产生; ④阀使用弹簧加速阀瓣关闭速度、降低水锤产生; ⑤阀瓣为空心薄壳结构,减少阀瓣的惯性,不但使阀瓣关闭时能迅速启动,也减少了关闭时的冲击噪声; ⑥本产品可以垂直、水平、倾斜以及任何角度安装; ⑦内外表面均喷涂环保涂层,确保产品的防腐蚀及安全性。 HC41X消声止回阀技术参数:
HC41X消声止回阀部件材质:
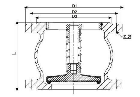
HC41X消声止回阀外形尺寸: ![]()
|
|||||||||||||||||||||||||||||||||||||||||||||||||||||||||||||||||||||||||||||||||||||||||||||||||||||||||||||||||||||||||||||||||||||||||||||
-
阀瓣采用弹簧加载,其快速关闭能有效的消除水锤,密封性能好,关闭无噪声
-
体积小、重量轻、流体阻力小,耐疲劳
-
阀瓣采用“子弹头”外形设计,阀体采用“腰鼓”外形设计,改善介质流向,降低流阻系数
-
阀使用弹簧加速阀瓣关闭速度、降低水锤产生
-
骨架式橡胶密封圈直接镶嵌在阀体上,避免了介质长时间对密封圈的直接冲刷,使用寿命明显延长,坚固 耐用
-
阀瓣前后设计为锥形,使流体阻力大大减少,又减少了因紊流所产生的噪声


