|
自力式温度调节阀产品概述: ZZWP自力式温度调节阀不需外界能源而进行温度自动调节。它适用于蒸汽、热水、热油、冷却水等为介质的各种工艺及换热、冷却工况。广泛应用于供暖、空调、生活热水中的温度自动调节,以及特殊工况如石油、化工、纺织、制药、食品等生产工程。
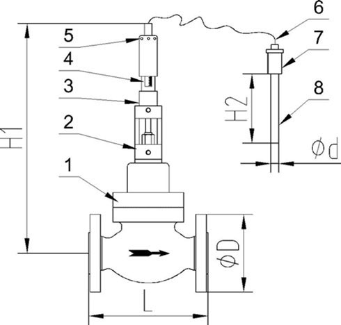
自力式温度调节阀工作原理: ZZWP自力式温度调节阀利用液体受热膨胀及液体不可压缩的原理实现自动调节,控制作用为比例调节。被控介质温度变化时,传感器内的感温液体体积随着膨胀或收缩;被控介质温度高于设定值时,感温液体膨胀,推动阀芯向下关闭阀门,减少热媒的流量;被控介质的温度低于设定值时,感温液体收缩,复位弹簧推动阀芯开启,实现温度的平衡控制;冷却阀与之相反,高于温度设定值打开 低于温度设定值关闭;三通阀一个进口,两个出口为分流,两个进 口一个出口为合流。从而实现温度的自动控制。 自力式温度调节阀外形尺寸:

1、阀体 2、隔热架 3、执行机构 4、温度刻度标尺 5、调温孔 6、导管 7、感温包压塞联母等 8、温度感温包 调节阀温度控制范围表: 用于生活热水供应 | 30-90℃ | 用于采暖、中央空调供暖 | 40-100℃ | 用于除氧器等生产工艺过程 | 80-110℃ |
ZZWP-16B加热型自力式温度调节阀: 材 质 | 阀体:球铁、铸钢、不锈钢 |  |
| 阀杆阀芯:304 不锈钢 |
| 感温包:304 不锈钢 | 公称通径 | 螺纹(15-65)mm、法兰(15-200)mm | 公称压力 | 1.6-2.5MPa | 工作温度 | -20-350℃ | 温控范围 | 28℃-110℃ | 导管长度 | 标配 3.2 米(定制 5-12 米) | 适用介质 | 蒸汽、热水、热油 | 控制精度 | ± 2℃(循环系统) ± 5℃(无循环) | 阀杆密封 | 石墨、四氟、压塞 V 型高温组件 |
ZZWP-16K冷却型自力式温度调节阀: 材 质 | 阀体:球铁、铸钢、不锈钢 | 
|
| 阀杆阀芯:304 不锈钢 |
| 感温包:304 不锈钢 | 公称通径 | 法兰(15-200)mm(螺纹订制) | 公称压力 | 1.6-2.5MPa | 工作温度 | -20-350℃ | 温控范围 | 28℃-110℃ | 导管长度 | 标配 3.2 米(定制 5-12 米) | 适用介质 | 水、油、冷却液、制冷剂 | 控制精度 | ± 2℃ | 阀杆密封 | 石墨、四氟、压塞 V 型高温组件 |
ZZWP-16X/Q三通分流合流型自力式温度调节阀: 材 质 | 阀体:球铁、铸钢、不锈钢 | 
|
| 阀杆阀芯:304 不锈钢 |
| 感温包:304 不锈钢 | 公称通径 | 25-200mm | 公称压力 | 1.6-2.5MPa | 工作温度 | -10-180℃ | 温控范围 | 28℃-90℃ | 导管长度 | 标配 3.2 米(定制 5-12 米) | 适用介质 | 冷水、热水、蒸汽 | 控制精度 | ± 2℃ | 阀杆密封 | 石墨、四氟、压塞 V 型高温组件 |
典型安装案例图 
图7-1 换热器安装系统图

图7-2 蒸汽直喷式自力式温控阀安装示意图 
本温度调节阀在工作状态下起到温度调节作用,如果是生活用水或洗浴系统,必须安装循环系统,在洗浴时如果分时段洗浴必须在洗浴结束后(一段时间不用)关闭蒸汽截止阀。
图7-3 自力式温度调节阀生活用水或洗浴换热系统

图7-4 自力式三通分流型温控阀安装原理图

图7-5 自力式三通合流型温控阀安装原理图
错误安装 
自力式温度调节阀安装指导: 1.阀体安装 (1)阀体应水平安装在一次热媒的入口处,阀杆朝上,并确保执行 器垂直安装。 (2)阀前应安装过滤器,过滤器精度尽量选用高目数。 (3)前后安装手动截至阀,阀侧应安装旁通,并安装手动截至阀。 (4)阀前蒸汽的******工作范围为 0.3~0.7Mpa。 (5)标准安装方式如图所示: 建议: (1) 蒸汽压力过高,建议阀前安装减压调节阀 (2)如阀前无温度压力表,建议加装,以便分析设备工作状况 (2) 阀体口径≥DN100 时,建议主干管道安装固定支架,或下部安 装活动支架 2.感温探头安装 1.感温探头装于换热器出口附近或出水管道上安装时切勿将阀杆碰伤 感温探头一定与丝座紧密安装,并保证无泄漏和脱落的可能 。 (如图)

3.执行器的安装 (1)顺毛细管卷绕的方向将导管自然展开 (2)将阀杆用力按至底部,如力量不够,请借助辅助工具,如 角铁等。 (3)将执行器总成安装于阀体上,将压紧联接螺母按顺时 针方向旋转直至背死,确保隔热架与阀体连接紧固,即完成安装工作(见图示)

自力式温度调节阀调试和使用: 温控阀出厂时已根据用户要求设定温度。如果用户事先无要求, 则出厂时温度默认值为 60℃,用户可直接使用。用户也可根据现场 要求自行调节,调整时应关闭热源,等待传感器所测温度降至需设 定温度以下时方可调整。 警告: 温控阀本身是一种精密调节仪器,不可用做普通截止阀或当作 阀门使用,停止工作时必须手动关闭热媒介质,并确保无泄漏。 危险: 用于洗澡系统时需安装循环系统,若无循环系统,必须加装储 热罐或水箱,以防止局部水温过高。 系统应用 (1)产品出厂前已经按照用户的要求和用途设定好了温度,用 户在关闭旁通管路后,可直接使用本产品。 (2)建议开启的顺序为:先开启循环泵,使整个被加热水系统 运转起来,再少许打开热媒进口截止阀,使被加热水系统的温度逐 渐升高。待温度接近设定温度时,全部打开截止阀。 (3)初始启用时,温度会有一定的波动,经过短期的运行,即可达到稳定的工作状态。本产品上的温度指示标牌为出厂设定温度,谨供用户调节时参考,它并不代表实际温度,实际温度应以现场的温度计读数为准。 (4)在使用中温度如有偏差或用户需要改变设定温度时,可以 进行调节。将调节扳手插入调温旋钮的调节孔内,由低温向高温调 节时逆时针转动调节扳手;由高温向低温调节时,需等待传感器温 度冷却至比所需调节温度更低时,将调节扳手顺时针转动即可。 (5)系统停止运行时,先关闭热媒进口截止阀,再关闭系统循环泵。 自力式温度调节阀故障分析及解决方法 : (1)出水温度偏低 1、检查温度设定是否偏低,利用调节旋钮,提高出水设定温度。若出水温度仍然停滞不动,则应从以下几方面检查: 2、按实际工作热负荷,计算判断温控阀是否选型过小或一次热媒压力过低,则需少量打开旁通阀作为辅助。 3、换热器输水阀排水是否堵塞或阻力太大,造成堵汽,则需要打开疏水阀旁通。 4、阀杆因受热抱死,造成阀门无法打开,此时,只需要用内六方扳手按逆时针方向轻微调整调节阀旋钮即可。 5、温控阀内有异物堵塞,或阀前过滤堵塞,影响过汽,如有,请及时疏通。 6、检查毛细血管是否与高温蒸汽管路搭接。造成额外感温。 (2) 出水温度过低 1、检查旁通是否泄漏或未关闭。 2、观察阀杆是否动作,若阀杆不工作,处于开启状态,则检查导管或感温探头是否泄漏,造成压力无法传递。如有泄漏,应及时更换执行器。 3、温度设定过高,可利用调节旋钮,调低出水温度。 4、按照实际热负荷工况,根据一次热媒温度、压力、用量、蒸气凝结水温度,及二次热媒温差,流量,进行热平衡计算,确定温控阀是否选型偏大,。 5、阀体内漏,拆下阀体,检查阀口密封处是否被焊渣等异物卡住或划伤,造成缺口。 设备保养 1、尽量保证机房处于干燥通风状态,以免生锈老化。 2、长时间停机时,尽量保证一次管网内处于干燥状态。 3、长时间停机后,将阀杆及压塞处擦干并涂抹黄油防护,以免生锈或密封件氧化以及干燥粘结。 自力式温度调节阀保修范围: 1、自力式温度调节阀在正确的安装使用和维护下会稳定发挥卓越的性能。 2、本产品自出厂之日起(见产品编号)因阀门本身质量问题凭保修卡免费质保一年。 3、在选用本产品 15天以内,产品自身出现任何质量问题,用户可与我公司进行同型号新机更换,也可进行免费维修。
|